前風玻璃除霧試驗房用于汽車裝備的除霧系統,試驗其除霧效果,以評價汽車的視野性能。試驗房可以容納被試車輛, 且能維持試驗溫度為-3 ℃ ±1 ℃。除霧出口氣流速度為5~8m/s,停車時僅除霧系統滿負荷工作時駕駛人頭部位置噪聲不大于65dB(A)。
相關試驗標準:
GB 24552-2009 電動汽車風窗玻璃除霜除霧系統的性能要求及試驗方法
GB 11555-2025 汽車風窗玻璃除霜和除霧系統技術規范
T/CCCM 7-2024 封閉駕駛室三輪摩托車玻璃安裝、風窗玻璃刮水和洗滌系統、除霜和除霧系統技術規范
技術參數:
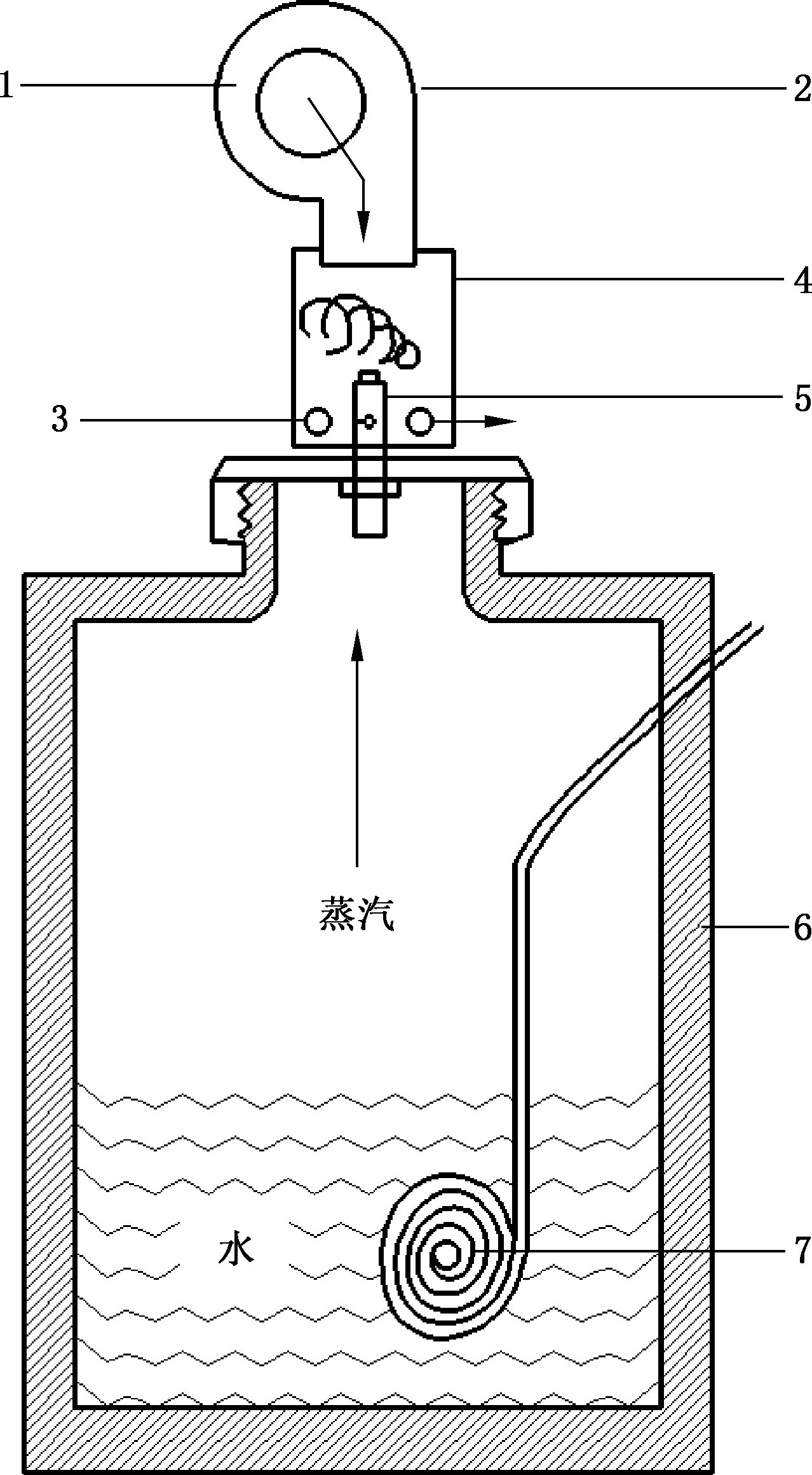
配套蒸汽發生器要求:
a) 容器的容量應不小于2.25 L;
b) 在-3 ℃ ±1 ℃ 的環境溫度下, 沸點的熱損失應不超過75 W;
c) 離心式風機在50 Pa 的靜壓時, 應有4.2 m3/h~6.0 m3/h 排量;
d) 蒸汽發生器的頂部應有6 個直徑為6.3 mm 的蒸汽排放孔;
為什么要做除霜試驗?
車室環境是駕乘人員安全與舒適的重要保證,由于車身保溫性能的局限性,車室環境受風霜雪雨等氣候影響和季節變換影響很大,“內熱外冷”時室內外溫差會造成前風窗玻璃窗內表面結霧,嚴重影響風窗玻璃可視性進而危害駕乘人員生命安全。
因此,前風窗玻璃除霧系統,能夠確保在寒冷(潮濕)天氣條件下恢復風窗玻璃的能見度。而前風玻璃除霧試驗房則能模擬相應的環境,為前風玻璃除霧試驗提供合適的環境,這也是GB11555標準中所要求的。
如有前風玻璃除霧試驗房選型疑問,可以咨詢環儀儀器相關技術人員。











